PBR — ПЕРЕХОДНИК ПОНИЖАЮЩИЙ ДЛЯ УСТАНОВКИ В ПАНЕЛЬПолучить каталог



Спецификации

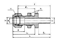
Номер детали
Наружный диаметр трубы O.D.
T, дюймы
E
мин.
h, дюймы
H, дюймы
F
l
l1
l2
L
L1
Диаметр
отверстия
в панели
Макс.
толщина
панели
PBR-02-02
1/8 
 2,03 
1/2 
7/16 
12,70 
 42,92 
 24,63 
 13,46 
 49,53 
31,24 
8,33 
12,70 
PBR-04-04
 1/4
 4,82
 5/8
 9/16
 15,24
 48,51
 26,16
 15,74
 55,88
 33,52
 11,50
10,16
PBR-06-06
 3/8
 7,11
 3/4
 11/16
 16,76
 53,84
 29,46
 17,52
 61,21
 36,83
 14,68
11,17
PBR-08-08
 1/2
10,41
 15/16
 7/8
 22,86
 62,73
 31,75
 23,11
 72,89
 41,91
 19,44
 12,70